
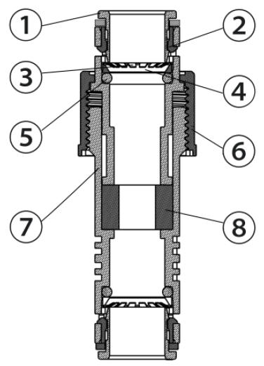
Gas block connectors are essential for microduct systems, preventing gas, water, and moisture ingress. Made from high-quality clear polycarbonate (Makrolon 2807) by Bayer, they create a secure seal around installed fiber cables. Compatible with microducts from 5 mm to 20 mm, each size accommodates various fiber cable outer diameters. These connectors are vital in telecommunications for connecting fiber optic networks, organizing cabling systems in data centers, and supporting structured cabling in commercial buildings, ensuring the integrity of microduct systems across diverse applications.
✔ Choosing the correct gas block connector is critical. You need to ensure compatibility with both your microduct and your fiber cable.
✔ Identify Your Microduct Size: Measure the outer diameter (OD) of your microduct tube (e.g., 10mm, 14mm, 18mm).
✔ Identify Your Cable Size: Measure the outer diameter (OD) of your fiber cable.
✔ Match with a Compatible Connector: Use the manufacturer's specifications to find a connector model that matches your microduct OD and is rated for your specific cable OD range. For example, an 18mm microduct connector might have different models for 5-8mm, 7-10mm, or 9-12mm cables.
