Item Description
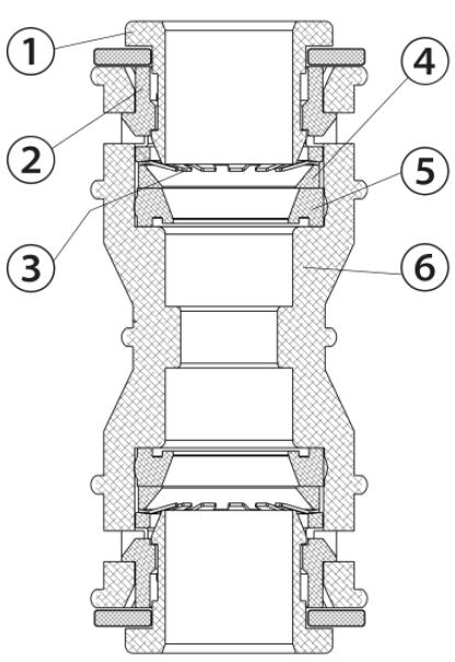
Microduct straight connectors are essential for joining two segments of microducts in installation and maintenance. Made from high-quality clear polycarbonate (Makrolon 2807) by Bayer, they are available in sizes starting from 3 mm. Designed for durability, they withstand environmental factors and ensure quick installation, minimizing downtime. Key applications include teleco mmunications, data centers, and commercial buildings, enhancing the efficiency and reliability of cabling infrastructures across various settings.

Features and Applications
For a complete solution, you would need to source these compatible parts from the same manufacturer or system provider. Here are the recommended next steps:
Contact Major Microduct Manufacturers: Companies like Dura-Line, Emtelle, and Pipelife specialize in microduct solutions. They are most likely to have compatible reducer connectors for their own FR microduct product lines, or they may offer custom-engineered parts for specific needs.
Specify Requirements: When contacting them, clearly specify the following:
✔ The outer diameters of the microducts you need to connect (e.g., 14mm to 10mm).
✔ That you require components for use with their UL94-V0 flame-retardant microduct.
✔ That you need a gas-tight seal, so the connector must be compatible with a gas-blocking function.
✔ Consider System Integrity: For critical applications, using components from a single, certified system ensures compatibility and that the entire assembly meets performance standards.