You are here : Home > Products > Fiber Optical Tools Equipments > Microduct Connectors > Microduct Straight Connector
Products
banner
Product Image
Microduct Straight Connector
Item Description
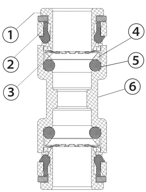
Microduct straight connectors are essential for joining two segments of microducts in installation and maintenance. Made from high-quality clear polycarbonate (Makrolon 2807) by Bayer, they are available in sizes starting from 3 mm. Designed for durability, they withstand environmental factors and ensure quick installation, minimizing downtime. Key applications include teleco mmunications, data centers, and commercial buildings, enhancing the efficiency and reliability of cabling infrastructures across various settings.
Features and Applications
✔ Size Compatibility: This is the most critical factor. You must match the connector's size to the outer diameter (OD) of your microducts. If you need to connect microducts of different diameters, you will require a specific Transition Coupler.

✔ Performance Specifications: Check that the product's ratings meet your project requirements, particularly for pressure resistance (e.g., for high-pressure cable blowing) and environmental sealing (e.g., IP68 rating for submerged or dusty conditions).

✔ Material and Build: A transparent polycarbonate body allows for visual confirmation that the microduct is fully inserted. Components like stainless steel locking claws contribute to durability and secure retention.
Technical Parameter