

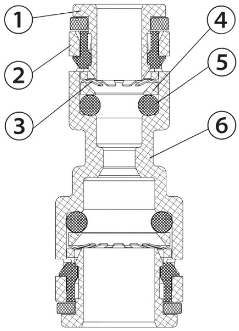
✔ Color-coded by size for easy identification.
✔ Provides an air- and water-tight seal.
✔ Rated for 16 Bar pressure.
✔ Simplifies installation by reducing parts needed.
✔ Identify Your Sizes: Precisely measure the outer diameter (OD) of both microducts you need to connect. The coupler will be labeled with an input and output size (e.g., 14mm→10mm).
✔ Consider the Application:
For most professional installations, especially where a robust, reliable, and simple connection is needed, a dedicated reduction coupler is the preferred choice.
✔ The DIY method can be useful in a pinch, for field repairs, or if a specific dedicated reducer is unavailable, but it is not as elegant or potentially as reliable.
✔ Check Performance Ratings: Ensure the connector meets the necessary pressure and environmental (IP rating) requirements for your project.

